Q61F焊接钢制球阀
产品概况
产品型号:Q61F
公称通径:DN15~250mm
公称压力:PN1.6~6.4Mpa、Class150~600LB
主要材质:WCB,A105,F11,F22,F304,F316,CF8,CF8M,WCC或根据客户要求选。
适用温度:-40℃~+220℃
连接方式:焊接,对焊
驱动方式:电动、手动、蜗轮驱动、齿轮驱动等
设计制造标准:GB/T 12237-2007
结构长度标准:GB/T 12221-2005
承插焊标准:GB12224、ANSIB16.25
压力温度等级:GB/T 12224-2005
试验检验标准:GB/T 13927-2008
Q61F焊接钢制球阀产品用途:
1)城市燃气:燃气输出管道、主干线及各支线供应管道等。
2)集中供热:大型供热设备输出管线、主干线、支线。
3)热交换机:管道及各回路启闭。
4)钢 铁 厂:各种流体管道、废气排放管道、煤气和热力供应管道、燃料供应管道。
5)各种工业设备:各种热处理管道、各种工业煤气和热力管道。
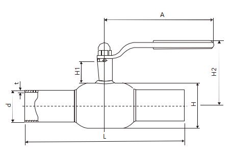
Q61F焊接钢制球阀主要连接尺寸:

|
DN |
公称直径 Bore |
DH |
d |
t |
L |
H1 |
H2 |
A |
重量kg |
|
A/B |
|||||||||
|
50 |
40 |
89 |
60.3/57 |
4 |
300 |
35 |
135 |
180 |
4 |
|
65 |
50 |
108 |
76.1/76 |
4 |
300 |
35 |
144 |
275 |
5.2 |
|
80 |
65 |
133 |
88.9/89 |
5 |
300 |
44 |
154 |
275 |
6.3 |
|
100 |
80 |
159 |
114.6/108 |
5 |
325 |
50 |
193 |
365 |
11 |
|
125 |
100 |
193 |
139.7/133 |
5 |
325 |
42 |
218 |
365 |
16 |
|
150 |
125 |
219 |
168.3/159 |
6 |
350 |
83 |
343 |
650 |
24 |
|
200 |
150 |
273 |
219/219 |
7 |
400 |
84 |
345 |
800 |
39 |
温馨提示:
本文中所有文字、数据、图片均只适用于参考。需要查看更多的Q61F焊接钢制球阀性能参数、结构尺寸参数、价格等详情,或要求高质量印刷样本,请联系我们。