SP45F数字锁定平衡阀
产品概况
产品型号:SP45F
公称通径:DN15~350mm
公称压力:PN1.6~2.4MPa
适用温度:≤120℃
主要材质:灰铸铁、球墨铸铁、铸钢
法兰标准:GB/T17241.6GB/T9113
试验标准:GB/T13927API598
一、SP45F数字锁定平衡阀产品概述
百钢阀门集团生产销售的SP45F、SP15F数字锁定平衡阀是一种具有数字锁定特殊功能的调节型阀门,采用直流型阀体结构,具有更好的等百分比流量特性,能够合理地分配流量,有效地解决供热(空调)系统中存在的室温冷热不均问题。同时能准确地调节压降和流量,用以改善管网系统中液体流动状态,达到管网液体平衡和节约源的目的。阀门设有开启度指示、开度锁定装置及用于流量测定的测压小阀,只要在各支路及用户入口装上适当规格的平衡阀,并用专用智能仪表进行一次性调试后锁定,将系统的总水量控制在合理的范围内、从而克服了“大流量,小温差”的不合理现象。该产品是供热系统中的理想产品。既可安装在供水管上,也可以安装在回水管上,一般我们建议安装在回水管上,尤其对于高温环路,为方便调试,更要装在回水管上,安装了平衡阀的供(回)水管不必再设截止阀。
二、 SP45F数字锁定平衡阀主要零件材料
| 零件名称 | 阀体、阀盖 | 阀杆 | 阀瓣 | 密封垫 |
| 材料 | 灰铸铁、球墨铸铁、铸钢 | 不锈钢 | 球墨铸铁 | 橡胶石棉板 |
三、 SP45F数字锁定平衡阀主要技术参数
| 公称压力(MPa) | 壳体试验压力(MPa) | 适用温度 | 适用介质 | 特性曲线 | 安装使用范围 |
| 1.6 | 2.4 | ≤120℃ | 水、油等非腐蚀性液体 | 等百分比 | 管网系统主干、分支干、室内供水干管、分支立管及多台锅炉 |
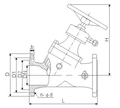
四、SP45F数字锁定平衡阀主要连接尺寸

| 型 号 | 公称通径(mm) | 尺 寸(mm) | |
| L | H | ||
| SP15F-25 | 15 | 100 | 128 |
| 20 | 115 | 128 | |
| 25 | 125 | 130 | |
| 32 | 140 | 150 | |
| 40 | 160 | 187 | |
| SP45F-16/25 | 32 | 180 | 230 |
| 40 | 200 | 242 | |
| 50 | 230 | 250 | |
| 65 | 290 | 260 | |
| 80 | 310 | 329 | |
| 100 | 350 | 340 | |
| 125 | 400 | 424 | |
| 150 | 480 | 454 | |
| 200 | 550 | 517 | |
| 250 | 622 | 573 | |
| 300 | 698 | 617 | |
| 350 | 787 | 705 | |
温馨提示:
本文中所有文字、数据、图片均只适用于参考。需要查看更多的SP45F数字锁定平衡阀性能参数、结构尺寸参数、价格等详情,或要求高质量印刷样本,请联系我们。