| 公称压力PN | 强度试验压力Mpa | 空气密封试验压力Mpa | 低压密封试验(Mpa) | 适用介质 | |||
| 2.5 | 3.75 | 2.75 | (-40~+80) | ||||
H42N立式液化气止回阀主要零件材料:
| 零 件 名 称 | 材 料 |
| 阀 体 阀 盖 | 碳素钢 WCB |
| 阀 瓣 | 25# 密 封 面 尼 龙 1010 |
| 中法兰螺栓 | 35CrMoA |
| 中法兰螺母 | 35# |
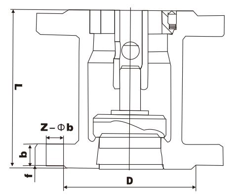
H42N立式液化气止回阀主要外形尺寸和连接尺寸

| DN | L | D | D1 | D2 | b | f | z-d |
| 50 | 140 | 160 | 125 | 100 | 20 | 3 | 4-*18 |
| 65 | 160 | 180 | 145 | 120 | 22 | 3 | 8-*18 |
| 80 | 185 | 195 | 160 | 135 | 22 | 3 | 8-*18 |
| 100 | 210 | 135 | 190 | 160 | 24 | 3 | 8-*23 |
| 125 | 250 | 270 | 220 | 188 | 28 | 3 | 8-*25 |
| 150 | 300 | 300 | 250 | 218 | 30 | 3 | 8-*25 |
| 200 | 380 | 375 | 310 | 278 | 34 | 3 | 12-*25 |
温馨提示:
本文中所有文字、数据、图片均只适用于参考。需要查看更多的H42N立式液化气止回阀性能参数、结构尺寸参数、价格等详情,或要求高质量印刷样本,请联系我们。