H44J旋启式止回阀
产品概况
产品型号:H44J
公称通径:DN20~400mm
压力等级:PN0.6、1.0、1.6MPa
适用温度:≤85℃、≤100℃、≤120℃、≤150℃、(可按照衬里材料)
设计与制造:GB12236
结构长度:GB12221
法兰连接尺寸:GB4216
H44J旋启式止回阀产品用途
百钢阀门集团生产销售的H44J旋启式止回阀专用于控制强腐蚀性介质,阀体内腔表面覆有可供选择的各种氟塑料,具有强度高、耐腐蚀性能好的特点。适用于不同工作温度和流体管路,防止各类管路或设备上的介质逆流的单向启闭。
H44J旋启式止回阀阀门测试
衬里层:电火花检测
实验与检验按GB/T13927标准
公称压力:PN阀体:PN×1.5 密封:PN×1.1
H44J旋启式止回阀主要零件材料
上阀体:铸铁、球墨铸铁、碳钢 下阀体:铸铁、球墨铸铁、碳钢 衬里:氟塑料
阀瓣:碳钢完全包覆氟塑料
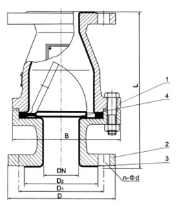
H44J旋启式止回阀部件列表
1、上阀体、2、下阀体3、阀体衬里4、阀瓣
|
公称通径
|
公称压力 | 工作压力 | L | D | D1 | D2 | n-Фd | B | 质量 |
|
20 |
1.0 |
1.0 |
160 |
105 |
75 |
59 |
4-14 |
128 |
|
|
25 |
160 |
115 |
85 |
68 |
4-14 |
128 |
|
||
|
32 |
180 |
140 |
100 |
78 |
4-18 |
150 |
4.5 |
||
|
40 |
200 |
150 |
110 |
88 |
4-18 |
160 |
7 |
||
|
50 |
230 |
165 |
125 |
102 |
4-18 |
178 |
8 |
||
|
65 |
290 |
185 |
145 |
122 |
4-18 |
205 |
10 |
||
|
80 |
310 |
200 |
160 |
133 |
8-18 |
230 |
18 |
||
|
100 |
350 |
220 |
180 |
158 |
8-18 |
255 |
24 |
||
|
125 |
400 |
250 |
210 |
184 |
8-18 |
305 |
30.5 |
||
|
150 |
480 |
285 |
240 |
212 |
8-22 |
345 |
47.5 |
||
|
200 |
500 |
340 |
295 |
268 |
8-22 |
415 |
63.5 |
||
|
250 |
0.6 |
0.6 |
550 |
395 |
350 |
320 |
12-22 |
495 |
96.5 |
|
300 |
0.4 |
620 |
445 |
400 |
370 |
12-22 |
540 |
14 |
|
|
350 |
698 |
505 |
460 |
430 |
16-22 |
620 |
244 |
||
|
400 |
787 |
565 |
515 |
482 |
16-22 |
680 |
|
温馨提示:
本文中所有文字、数据、图片均只适用于参考。需要查看更多的H44J旋启式止回阀性能参数、结构尺寸参数、价格等详情,或要求高质量印刷样本,请联系我们。