Z41F46衬氟闸阀
产品概况
产品型号:Z41F46
公称通径:DN15~500mm
压力等级: 0.6、1.0、1.6MPa
适用温度:≤100℃、≤120℃、≤150℃、(可按照衬里材料)
设计与制造:GB12234
结构长度:GB12221(长系列)、JB97
法兰连接尺寸:JB78 JB79 GB9113 HG SH
Z41F46衬氟闸阀产品用途
百钢阀门集团生产销售的Z41F46衬氟闸阀专用于控制强腐蚀性介质,阀体内腔表面覆有可供选择的各种氟塑料,适用于不同工作温度和流体管路,具有强度高、耐腐蚀性能好的特点。
Z41F46衬氟闸阀测试
衬里层:电火花检测
实验与检验按GB/T13927标准
公称压力:PN阀体:PN×1.5 密封:PN×1.1
Z41F46衬氟闸阀主要零件材料
阀体:铸铁、碳钢、不锈钢、低碳不锈钢 阀盖:铸铁、碳钢、不锈钢、低碳不锈钢
衬里:氟塑料 阀板:碳钢完全包覆氟塑料 支架:碳钢
阀杆:2Cr13 1Cr18Ni9,部分包覆氟塑料 手轮:铸铁、碳钢
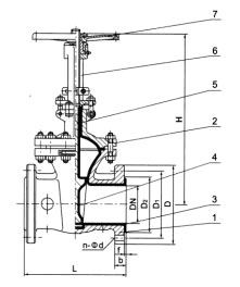
部件列表
1、阀体2、阀盖3、阀体衬里4、闸板5、阀杆6、支架7、手轮
注:表中L值DN≤32按JB97 PN4.0MPa.DN≥40按GB12221长系列。
| 公称通径 | L | D | D1 | ||||||||||
|
DN |
NPS |
0.6 |
1.0 |
1.6 |
2.5 |
0.6 |
1.0 |
1.6 |
2.5 |
0.6 |
1.0 |
1.6 |
2.5 |
|
15 |
1/2 |
130 |
130 |
130 |
130 |
80 |
95 |
95 |
95 |
55 |
65 |
65 |
65 |
|
20 |
3/4 |
150 |
150 |
150 |
150 |
90 |
105 |
105 |
105 |
65 |
75 |
75 |
75 |
|
25 |
1 |
160 |
160 |
160 |
160 |
100 |
115 |
115 |
115 |
75 |
85 |
85 |
85 |
|
32 |
11/4 |
180 |
180 |
180 |
180 |
120 |
135 |
135 |
135 |
90 |
100 |
100 |
100 |
|
40 |
11/2 |
240 |
240 |
240 |
240 |
130 |
145 |
145 |
145 |
100 |
110 |
110 |
110 |
|
50 |
2 |
250 |
250 |
250 |
250 |
140 |
160 |
160 |
160 |
110 |
125 |
125 |
125 |
|
65 |
21/2 |
270 |
270 |
270 |
270 |
160 |
180 |
180 |
180 |
130 |
145 |
145 |
145 |
|
80 |
3 |
280 |
280 |
280 |
280 |
185 |
195 |
195 |
195 |
150 |
160 |
160 |
160 |
|
100 |
4 |
300 |
300 |
300 |
300 |
205 |
215 |
215 |
230 |
170 |
180 |
180 |
190 |
|
125 |
5 |
325 |
325 |
325 |
325 |
235 |
245 |
245 |
270 |
200 |
210 |
210 |
220 |
|
150 |
6 |
350 |
350 |
350 |
350 |
260 |
280 |
280 |
300 |
225 |
240 |
240 |
250 |
|
200 |
8 |
400 |
400 |
400 |
400 |
315 |
335 |
335 |
360 |
280 |
295 |
295 |
310 |
|
250 |
10 |
450 |
450 |
450 |
450 |
370 |
390 |
405 |
425 |
335 |
350 |
355 |
370 |
|
300 |
12 |
500 |
500 |
500 |
500 |
435 |
440 |
460 |
485 |
395 |
400 |
410 |
430 |
|
350 |
14 |
550 |
550 |
550 |
|
485 |
500 |
520 |
|
445 |
460 |
470 |
|
|
400 |
16 |
600 |
600 |
600 |
|
535 |
565 |
580 |
|
495 |
515 |
525 |
|
|
450 |
18 |
650 |
650 |
650 |
|
590 |
615 |
640 |
|
550 |
565 |
585 |
|
|
500 |
20 |
700 |
700 |
700 |
|
640 |
670 |
705 |
|
600 |
620 |
650 |
|
温馨提示:
本文中所有文字、数据、图片均只适用于参考。需要查看更多的Z41F46衬氟闸阀性能参数、结构尺寸参数、价格等详情,或要求高质量印刷样本,请联系我们。