Z41X明杆软密封闸阀
产品概况
产品型号:Z41X
公称通径:DN15-600 mm
公称压力:PN1.6~2.5MPa
适用温度:0~80℃
适用介质:水
阀体材质:球墨铸铁等
驱动方式:手动、电动、气动等
法兰标准:GB/T 17241.6 GB9113
试验标准:GB13927 AP1598
一、Z41X明杆软密封闸阀产品的概述
百钢阀门集团生产销售的Z41X明杆软密封闸阀除具有弹性座封闸阀的优点之外,并可以较直观显示阀门开度,启闭迅速可靠,故常用于消防及工业系统。一
般安装于距地面较高的位置。利用闸门整体包胶产生变形补偿作用达到良好的密封效果,克服了一般闸阀密封
不良、漏水和生锈的现象。可广泛用于自来水、污水、建筑、石油、化工、食品、医
药、轻伤、电力、船舶、冶金、能源系统等流体管线上作为调节和截流装置使用。
二、Z41X明杆软密封闸阀产品的特点
1、整体包胶:闸门采用整体包胶,其良好的覆盖性能与精确的几
何尺寸,保证密封可靠,寿命。
2
、重量轻:阀体采用球铁制成,重量轻,安装方便。
3、平底阀座:底部采用与水管相同的平底式阀座设计,不产生杂
物淤积,密封更可靠。
4、耐腐蚀:内
腔采用无毒环氧树脂涂状,防止腐蚀和生锈,不但可供生饮,而且可用于污水系统。
5、三“0”密封:阀杆采用三道0型
环密封,磨擦阻力小,开关轻巧,不漏水。
三、Z41X 明杆软密封闸阀主要性能参数
| 压力等级 | 1.0MPa、1.6MPa、2.5MPa |
| 阀体耐压 | 1.5MPa、2.4MPa、3.75MPa |
| 密封试验 | 1.1MPa、1.76MPa、2.75MPa |
| 工作温度 | 0~80℃ |
| 适用介质 | 水 |
四、 Z41X明杆软密封闸阀主要零件材料
| 序号 | 名称 | 材料 | 序号 | 名称 | 材料 |
| 1 | 阀体 | 球墨铸铁 | 8 | 止推垫 | 锡青铜 |
| 2 | 闸板 | 球墨铸铁外覆EPDM | 9 | 轴套 | 锡青铜 |
| 3 | 螺栓 | 镀锌 | 10 | 螺栓 | 镀锌 |
| 4 | 密封圈 | NBR | 11 | 轴盖 | 球墨铸铁 |
| 5 | 阀盖 | 球墨铸铁 | 12 | 防尘罩 | NBR |
| 6 | 阀杆 | 不锈钢 | 13 | 手轮 | 铸铁 |
| 7 | “O”形密封圈 | NBR | 14 | 紧固螺母 |
|
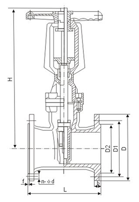
五、Z41X明杆软密封闸阀主要外形连接尺寸

|
DN |
50 |
65 |
80 |
100 |
125 |
150 |
200 |
250 |
300 |
350 |
400 |
|
L |
178 |
190 |
203 |
229 |
254 |
267 |
292 |
330 |
356 |
381 |
406 |
|
HA |
322 |
332 |
350 |
420 |
581 |
581 |
736 |
882 |
1009 |
1300 |
1380 |
|
HC |
374 |
398 |
429 |
524 |
721 |
736 |
942 |
1031 |
1117 |
1655 |
1805 |
温馨提示:
本文中所有文字、数据、图片均只适用于参考。需要查看更多的Z41X明杆软密封闸阀性能参数、结构尺寸参数、价格等详情,或要求高质量印刷样本,请联系我们。